QJ深井潜水电泵
品牌:开云官方端网站入口站登录-开云(中国)
型号:QJ
材质:铸铁
驱动方式:电动
功率:3KW-30KW
扬程:30-247
适用介质:水
用途:主要用于农田灌溉及高原山区的人畜人水,亦可供城市、工厂、铁路、矿山、工地供排水使用
QJ深井潜水泵产品概述
QJ型深井潜水泵是引进国外泵业公司领先的制泵技术生产的高性能耐磨型电泵,动力部份配用目前国际先进技术生产的水浸式不锈钢潜水电机,对水质无污染。深井泵是当前国内外深井泵之精品。QJ潜水泵选用优质不锈钢外壳、轴芯、联轴器、入水座和泵头(或铜合金入水座、泵头),高强度抗耐磨新型复合高分子材料叶轮和不锈钢导流壳,全新"浮动式"结构叶轮在工作期间对电机无轴向压力。特别适用于工矿业、农业、建筑业、养殖业、食品饮料业及家庭式(或高层送水使用)。
QJ深井潜水泵型号意义
QJ深井潜水泵产品特点
1、电机、水泵一体、潜入水中运行,安全可靠。2、对井管、扬水管无特殊要求(即:钢管井、灰管井、土井等均可使用;在压力许可下、钢管、胶管、塑料管等均可作扬水管使用。
3、安装、使用、维护方便简单占地面积小、不需要造泵房。
4、结构简单,节省原材料。
5、潜水电泵使用的条件是否合适,管理得当与使用寿命有直接的关系。
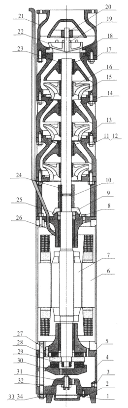
QJ深井潜水泵结构图
|
序号 | 名称 | 数量 |
| 1 | 螺钉M6*12 | 4 | |
| 2 | 压盖 | 1 | |
| 3 | 放水螺栓M10*12 | 1 | |
| 4 | 底座 | 1 | |
| 5 | 下导轴承座 | 1 | |
| 6 | 定子部装 | 1 | |
| 7 | 转子部装 | 1 | |
| 8 | 螺栓M10*14 | 2 | |
| 9 | 甩砂环 | 1 | |
| 10 | 联轴器 | 1 | |
| 11 | 螺丝 | 足 | |
| 12 | 弹簧垫 | 足 | |
| 13 | 导流壳 | 足 | |
| 14 | 橡胶轴承 | 足 | |
| 15 | 叶轮 | 足 | |
| 16 | 锥形套 | 足 | |
| 17 | 上导流壳 | 1 | |
| 18 | 缓冲垫 | 1 | |
| 19 | 阀垫 | 1 | |
| 20 | 阀杆 | 1 | |
| 21 | 逆止阀体 | 1 | |
| 22 | 阀盘 | 1 | |
| 23 | 水泵轴 | 1 | |
| 24 | 平键 | 2 | |
| 25 | 油封 | 2 | |
| 26 | 进水节 | 1 | |
| 27 | 上止推轴承 | 1 | |
| 28 | 推力盘 | 1 | |
| 29 | 左旋螺母 | 2 | |
| 30 | 止推轴承座 | 1 | |
| 31 | 球面支柱 | 1 | |
| 32 | 螺母 | 1 | |
| 33 | 双头螺柱M10*l30 | 4 | |
| 34 | 螺母M10 | 4 |
QJ深井潜水泵使用条件
1、电压38OV偏差不超过±5%,频率50HZ,偏差不超过±1%的三相电源。
2、电机内腔必须注满清水。
3、水泵的第一级叶轮至少应浸入动水位面2m以下。电泵机组浸入静水位面以下不得大于70m,电机底部距井底不得小于3m。
4、水温不高于20℃。
5、水含沙量(按质量记)不大于0.01%。
6、水的酸碱度PH值6.5-8.5。
7、水中硫化氢的含量不大于1.5mg/L。
8、水中氯离子的含里不大于400mg/L。
9、水源出水量应保证电泵连续运转的需要。
QJ深井潜水泵工作原理
开泵前,吸入管和泵内必须充满液体。开泵后,叶轮高速旋转,其中的液体随着叶片一起旋转,在离心力的作用下,飞离叶轮向外射出,射出的液体在泵壳扩散室内速度逐渐变慢,压力逐渐增加,然后从泵出口,排出管流出。此时,在叶片中心处由于液体被甩向周围而形成既没有空气又没有液体的真空低压区,液池中的液体在池面大气压的作用下,经吸入管流入泵内,液体就是这样连续不断地从液池中被抽吸上来又连续不断地从排出管流出。
QJ深井潜水泵技术参数


QJ深井潜水泵安装示意图
QJ深井潜水泵使用须知
1、电机使用前必须灌满清水,拧紧注水放气螺栓,否则不准使用。2、陆地试运转不得超过一秒。
3、电泵不准倒卧或倾使用。
4、电动机必须完全潜入水中,但潜入深度应不大于70米。
5、引线与电缆接头按规定操作。
6、订购高扬程潜水电泵请参阅《高扬程潜水电泵型谱》及《高扬程潜水电泵使用手册》。
产品地址:http://www.cndjb.cn/pwb/pro-43.html
转载注明:欢迎转载!转载请注明本产品地址。
免责声明:本产品信息,由开云官方端网站入口站登录-开云(中国)整理发表,部分文章信息来源于网络以及网友投稿,不代表本站观点,如您对文章有任何意见欢迎在下方评论处与我们互动沟通。如本站文章和转稿涉及版权等问题,请作者在及时联系本站,我们会尽快处理。